又爆一款 VR 专利!苹果 VR 设备没跑了
VR现在是两个主要竞争对手的战争:由从属于Facebook的 Oculus以及Valve加持的HTC。而到了十月份的时候,Sony发布自家游戏主机PS4驱动的PSVR,也将会加入到Rift和 Vive两款重量级VR设备的竞争中来。尽管目前大家都把目光放在了这三个VR巨人身上,但我们不能忘记还有另一个沉睡的巨人——没错,那就是苹果,最近的迹象表明,它似乎要开始行动了。

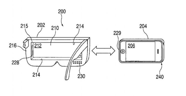
近日,苹果的一份专利被揭露出来,专利具体名称是「Head-Mounted Display Apparatus For Retaining A Portable Electronic Device With Display(直译过来就是:为架住有屏幕便携式电子装置的头戴显示设备,虽然有些别扭)」。
这个专利勾勒出了能显示特定图像,且与iPhone配对的头戴式显示屏。这个「头显」包括内置的耳机,与iPhone相连的Lightning接口,眼镜状的外观以及定制的镜片。

乍一看上去,苹果发明物的外形与三星的Gear VR有几分相似。这两款设备与Google Cardboard之类的眼镜盒子之间有着挺多的不同之处的。根据专利的描述语言来看,苹果公司想要通过这份专利保护的主要知识产权是配对的功能。
这项过审的专利可能没有它第一次看上去那么重要。像苹果这样的大公司一定拥有一个巨大的研发部门,这些部门产出创意和原型机的速度要比它们接受检验和应用的速度快得多。苹果公司最不想看到的事情就是因为审查机构缓慢动作,而错失一个坚实的知识产权。因此像苹果这样的大公司会给一些至少短期内不可能投入生产的知识产权申请专利。

那并不意味着,我们不会有机会看到这个设备或者类似的产品上线售卖,这个专利有意思的地方在于,他们向我们证实了苹果确实在开发某种VR系统。此外,这款设备应该会和iPhone有密切的关系,这也解释了为什么苹果会积极投身于推动智能手机行业的发展。我们不能忽视的一点是,苹果对于AR的潜力也十分自信。
这件专利只是苹果公司内部复杂工作的惊鸿一瞥,但这也足够让那些期待苹果公司出品VR设备的果粉们为之激动了。也许将来果粉们能戴上只有一个按键,全金属机身的VR头显。
智能界(www.znjchina.com)中国智能科技聚合推荐平台,秉承“引领未来智能生活”的理念,专注报道智能家居、可穿戴设备、智能医疗、机器人、3D打印、智能汽车等诸多科技前沿领域。聚合品牌宣传、代理招商、产品评测、原创视频、FM电台与试用众测,深入智能硬件行业,全平台多维度为用户及厂商提供服务,致力成为中国最具影响力的智能硬件聚合推荐平台。
| 数量:5 | 申请人数:685 | 申领:100积分 |
最新评论