苹果获得iPhone充电器专利,体积更小了!

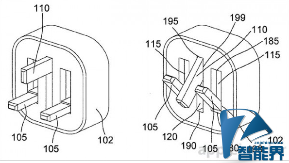
今年4月,苹果推出了一款全新的英标充电适配器,这款产品最大的特点就是三个针脚都可以折叠收纳起来,虽然万能充早就有类似的设计,但这仍属苹果首次将针脚做出收纳设计。
7月7日消息,现在,苹果已经获得了美国专利和商标局授予的这项设计专利。

据悉,这种新型USB适配器的结构与以往不同,新增了磁铁和弹簧加铰链。这两部分可以在不用的时候折叠收起来,大大减少了充电器的整体体积;此外该适配器还采用了磁力设计,使用过程中的摩擦更小,降低了配件的损耗程度,电气隔离表现也更好。
但是,三面提到的设计专利仍针对英标三角插头,中国版iPhone的两脚充电适配器暂时无缘获得新的设计。
智能界(www.znjchina.com)是中国首家专注于报道智能科技前沿的综合垂直媒体,秉承“引领未来智能生活”的理念,持续关注智能家居、可穿戴设备、智能医疗、机器人、3D打印、智驾等诸多科技前沿领域,提供最前沿、最时尚、最实用、最专业的硬件产品介绍、硬件评测、服务定制、最新资讯、圈子交流等服务,致力于成为最具价值的智能科技信息互动平台。
智能界【微信公众号ID:znjchina】【新浪/腾讯微博:@智能界】

| 数量:5 | 申请人数:685 | 申领:100积分 |
最新评论